ERDI TECH LTD'nin Yenilikçi Lazer Mesafe Ölçer Alıcı Devresi
Bu teknoloji, lazer mesafe bulma cihazlarındaki gelişmelerle ilgilidir, özellikle yeni bir lazer mesafe bulucu alıcı devresi. Geleneksel lazer mesafe bulucuları, bir hedef tarafından yansıtılan lazer sinyallerini almak için öncelikle bir fotoduyarlı eleman kullanır ve bunları elektronik sinyallere dönüştürür.

ERDI TECH LTD'nin birincil amacı, alınan lazer sinyallerinin hassasiyetini artıran bir lazer mesafe ölçer alıcı devresi sunmaktır. Yenilikçi yaklaşımımız şunları entegre eder:
-
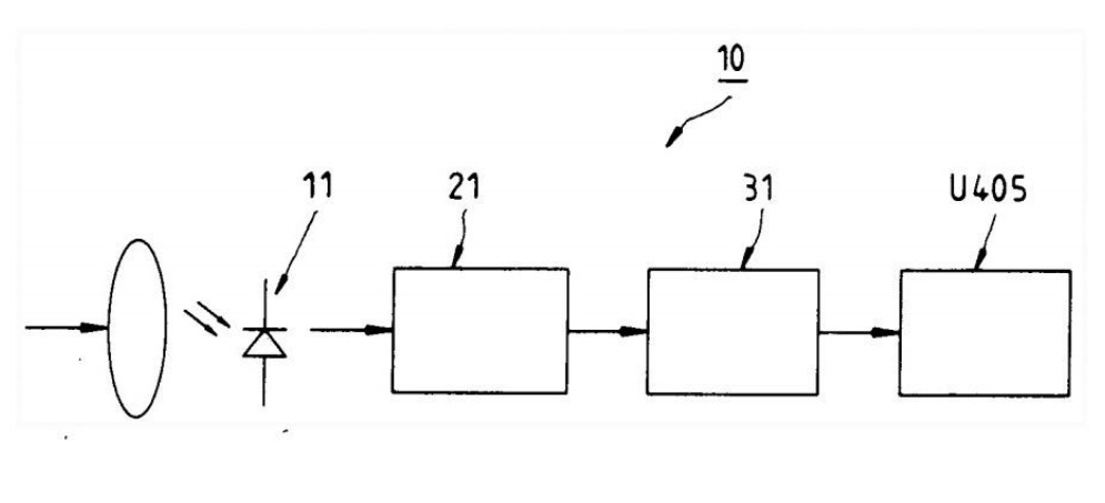
Fotoduyarlı Bir Eleman: Olay ışığı sinyallerini akım sinyallerine dönüştürme. Bu gelişmiş tasarımda, yansıyan lazer sinyallerine maruz kaldığında ters voltaja geçen, 100'lük bir iç kazanç üreten ve bir akım sinyali çıkışı veren bir Çığ Foto-Detektörü (APD) kullanıyoruz.
-
Transimpedans Amplifikasyon Aşaması: Bu aşama, fotosensitif elemana bağlandığında, fotosensitif elemandan gelen akım sinyalini bir voltaj sinyaline dönüştürür. Transistörler Q201 ve Q202, dirençler R203 ve R205 tarafından oluşturulan bir transimpedans amplifikatörü içerir. Bu amplifikatöre bağlı bir emitör takipçisi kuplörü transistörler Q203 ve dirençler R207 içerir. Transistör Q204 ve dirençler R209 ve R210'dan oluşan ortak bir emitör amplifikatörü daha sonra ana amplifikasyon aşamasına sinyal iletimi için bu kuplöre bağlanır.
-
Ana Amplifikasyon Aşaması: Transimpedans amplifikasyon aşamasına bağlı olan bu segment, voltaj sinyalini yükseltir. Birkaç direnç ve kapasitörün yanı sıra bir ana amplifikatör olan U201'i içerir. Ana amplifikatör, R211 ve R212 dirençleri tarafından oluşturulan bir önyargı sabitleme devresinden kararlı önyargı alır. Direnç R213 ve kapasitör C208'den oluşan bir çıkış düşük geçiş filtresi, sıcaklık değişimlerine karşı kararlılık için ana amplifikatörün girişindeki DC önyargısını ayarlar.
-
Tıklama Devresi: Bizim somut örneğimizde, entegre bir devre (IC) ana amplifikasyon aşamasına bağlanarak, yükseltilmiş voltaj sinyalini önceden belirlenmiş genişliklere sahip dijital darbe trenlerine yeniden şekillendirir. Şekil 3'te gösterildiği gibi, ana amplifikatör U201 için 1000'lik bir kazanç ve 1V çıkış değişimine yol açan 1mV giriş DC önyargı kayması olsa bile, kararlı önyargı kaynağımız tıklama devresinde herhangi bir arıza olmamasını sağlar. Bu, voltaj dalgalanmalarından kaynaklanan hatalı işlemleri önler.

Bu devre mimarisinden yararlanarak, ERDI TECH LTD'nin tasarımı yansıyan lazer sinyallerini elektronik sinyallere dönüştürür, bunları yüksek büyütme ve voltaj kaymalarına karşı minimum duyarlılıkla yükseltir ve şartlandırır. Bu gelişmiş hassasiyet, lazer mesafe ölçerler tarafından doğru mesafe ölçümlerini kolaylaştırır.

Pratik uygulamada, yeniliğimiz lazer mesafe ölçerlere yerleştirilir ve devreleriyle kusursuz bir şekilde arayüzlenir. Devremizden gelen işlenmiş sinyaller daha sonra mesafe ölçerin hesaplama devreleri tarafından hedef mesafelerini belirlemek için kullanılabilir.
Sonuç olarak, ERDI TECH LTD'nin lazer mesafe ölçer alıcı devresi, en aza indirilmiş voltaj dengesizliğiyle üstün sinyal yükseltme ve koşullandırma sunar ve böylece lazer mesafe ölçümlerinin hassasiyetini yükseltir. Bu ilerleme, pratik uygulamalarda performansı ve güvenilirliği artıran yenilikçi teknoloji çözümlerine olan bağlılığımızı örneklemektedir. Lazer mesafe ölçer teknolojisi hakkında daha fazla bilgi için web sitemizi ziyaret edin: www.erdicn.com .
